淮南市人民政府
关注微博
网站首页
信息公开
教育科研
招生考试
体育发展
公众互动
网上办事
您的位置:
首页
>
信息公开
> 市教育体育局
>
行政权力运行
>
行政权力运行结果
>
其他权力
>
其他权力目录分表及流程图
索
引
号:
003050775/202602-00008
信息分类:
其他权力目录分表及流程图
内容分类:
教育、体育
发布日期:
2026-02-05 10:21
发布机构:
市教育体育局
成文日期:
生效时间:
废止时间:
名
称:
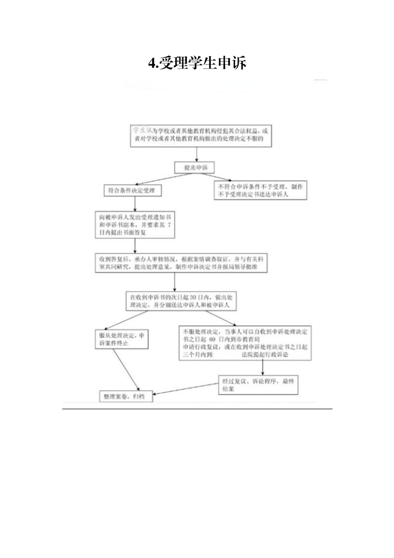
淮南市教育体育局其他权力事项流程图(2025年版)
点
击
量:
文
号:
关
键
词:
索
引
号:
003050775/202602-00008
信息分类:
其他权力目录分表及流程图
内容分类:
教育、体育
发布日期:
2026-02-05 10:21
发布机构:
市教育体育局
成文日期:
生效时间:
有
效
性:
名
称:
淮南市教育体育局其他权力事项流程图(2025年版)
点
击
量:
文
号:
关
键
词:
淮南市教育体育局其他权力事项流程图(2025年版)
发布时间:2026-02-05 10:21
信息来源:市教育体育局
文字大小:[
大
中
小
]
背景色:
正在更新中...
为进一步了解掌握社会公众对政策执行效果的反馈与评价,请您对该政策的制定及执行提出宝贵的意见或建议。我们将及时收集并分析,共同助力政策不断完善。
姓 名:
联系方式:
*
内 容:
*
验 证 码:
打印本页